SCLS464A September 2002 – January 2015 CD74HC4051-EP
PRODUCTION DATA.
Refer to the PDF data sheet for device specific package drawings
Supports Defense and Aerospace Applications
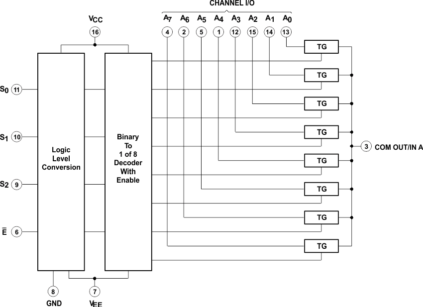
The CD74HC4051-EP is a digitally controlled analog switch that uses silicon gate CMOS technology to achieve operating speeds similar to LSTTL, with the low power consumption of standard CMOS integrated circuits.
This analog multiplexer and demultiplexer controls analog voltages that may vary across the voltage supply range (that is, VCC to VEE). These bidirectional switches allow the use of any analog input as an output and vice versa. The switches have low ON-resistance and low OFF leakages. In addition, the device has an enable control (E) that, when high, disables all switches to their OFF state.
| PART NUMBER | PACKAGE | BODY SIZE (NOM) |
|---|---|---|
| CD74HC4051-EP | SOIC (16) | 4.00 mm × 10.00 mm |

Changes from * Revision (September 2002) to A Revision