ZHCSCU5A May 2014 – September 2014 TLC5958
PRODUCTION DATA.
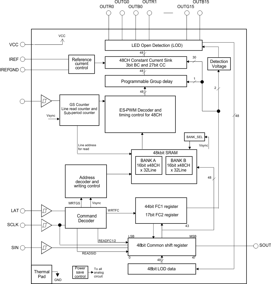
The TLC5958 is a 48 channels constant-current sink driver for multiplexing system with 1 to 32 duty ratio. Each channel has an individually-adjustable, 65536-step, pulse width modulation (PWM) grayscale (GS).
48K bit display memory is implemented to increase the visual refresh rate and to decrease the GS data writing frequency.
The TLC5958 support output current range from 1mA to 25mA, channel-to-channel accuracy is 3% max, device-to-device accuracy is 2% max in all current range. Besides, it implement Low Gray Scale Enhancement (LGSE™) technology to improve the display quality at low grayscale condition. These features make TLC5958 more suitable for high-density multiplexing application.
The output channels are grouped into three groups, each group has 16 channels. Each group has a 512-step color brightness control (CC) function. The maximum current value of all 48 channels can be set by 8-step global brightness control (BC) function. CC and BC can be used to adjust the brightness deviation between LED drivers. GS, CC, and BC data are accessible via a serial interface port.
The TLC5958 has one error flag: LED open detection (LOD), which can be read via a serial interface port. Besides, The TLC5958 also have Thermal shut down(TSD) and Iref resistor short protection(ISP), which make sure a higher system reliability. The TLC5958 also has a power-save mode that sets the total current consumption to 0.8mA (typ) when all outputs are off.

After power on, all OUTXn of the TLC5958 are turned off. All the internal counters and function control registers (FC1/FC2) are initialized. The following list is a brief summary of the sequence to operate the TLC5958, to give users a general idea how the device works. After that, the function block related to each step is detailed in the following sections.
Repeat step 5 through 7.
The TLC5958 is able to adjust the output current of all constant-current outputs simultaneously. This function is called global brightness control (BC). The global BC for all outputs is programmed with a 3-bit word, thus all output currents can be adjusted in 8 steps from 12.9% to 100% for a given current-programming resistor, RIREF (See Table 2).
BC data can be set via the serial interface. When the BC data changes, the output current also changes immediately. When the device is powered on, the BC data in the function control (FC) register FC1 is set to 4h as the initial value.
The TLC5958 is able to adjust the output current of each of the three color groups OUTR0-OUTR15, OUTG0-OUTG15, and OUTB0-OUTB15 separately. This function is called color brightness control (CC). For each color, it has 9-bit data latch CCR,CCG, or CCB in FC1 register . Thus, all color group output currents can be adjusted in 512 steps from 0% to 100% of the maximum output current, IOLCMax. (See the next section for more detail about IOLCMax). The CC data are entered via the serial interface. When the CC data change, the output current also changes immediately.
When the IC is powered on, the CC data are set to ‘100h’. Equation 1 calculates the actual output current.
Where:
IOLCMax = the maximum channel current for each channel, determined by BC data and RIREF (See Equation 2)
CCR/G/B = the color brightness control value for each color group in the FC1 register (000h to 1FFh)
Table 1 shows the CC data versus the constant-current against IOLCMax.
| CC DATA (CCR or CCG or CCB) | RATIO OF OUTPUT CURRENT TO IolcMax(%, typical) |
OUTPUT CURRENT (mA, RIREF = 7.41 kΩ) | |||
|---|---|---|---|---|---|
| BINARY | DECIMAL | HEX | BC = 7h (IolcMax =25mA) |
BC = 0h (IolcMax=3.2mA) |
|
| 0 0000 0000 | 0 | 00 | 0 | 0 | 0 |
| 0 0000 0001 | 1 | 01 | 0.2 | 0.05 | 0.006 |
| 0 0000 0010 | 2 | 02 | 0.4 | 0.10 | 0.013 |
| --- | --- | --- | --- | --- | --- |
| 1 0000 0000 (Default) |
256 (Default) |
100 (Default) |
50.1 | 12.52 | 1.621 |
| --- | --- | --- | --- | --- | --- |
| 1 1111 1101 | 509 | 1FD | 99.6 | 24.90 | 3.222 |
| 1 1111 1110 | 510 | 1FE | 99.8 | 24.95 | 3.229 |
| 1 1111 1111 | 511 | 1FF | 100.0 | 25 | 3.235 |
The maximum output current per channel, IOLCMax, is determined by resistor RIREF, placed between the IREF and IREFGND pins, and the BC code in FC1 register. The voltage on IREF is typically 1.209V. RIREF can be calculated by Equation 2.
Where:
VIREF = the internal reference voltage on IREF (1.209V, typical)
IOLCMax is the largest current for each output at CCR/G/B=1FFh.
Gain = the current gain at a selected BC code (See Table 2)
| BC DATA | GAIN | RATIO OF GAIN / GAIN_MAX (AT MAX BC) |
|
|---|---|---|---|
| BINARY | HEX | ||
| 000 (recommend) | 0 (recommend | 20.4 | 12.9% |
| 001 | 1 | 40.3 | 25.6% |
| 010 | 2 | 59.7 | 52.4% |
| 011 | 3 | 82.4 | 12.9% |
| 100 (default) | 4 (default) | 101.8 | 64.7% |
| 101 | 5 | 115.4 | 73.3% |
| 110 | 6 | 144.3 | 91.7% |
| 111 | 7 | 157.4 | 100% |
| NOTE: Recommend using a smaller BC code for better performance. For noise immunity purposes, suggest RIREF < 60 kΩ | |||
BC is mainly used for global brightness adjustment between day and night. Suggested BC is 4h, which is in the middle of the range, thus, one can change brightness up and down flexibly.
CC can be used to fine tune the brightness in 512 steps, this is suitable for white balance adjustment between RGB color group. To get a pure white color, the general requirement for the luminous intensity ratio of R, G, B LED is 3:6:1. Depending on the characteristics of the LED (Electro-Optical conversion efficiency), the current ratio of R, G, B LED will be much different from this ratio. Usually, the Red LED needs the largest current. One can choose 511d (the max value) CC code for the color group that needs the largest initial current, then choose proper CC code for the other two color groups according to the current ratio requirement of the LED used.
In this example, we choose 7h for BC, instead of using the default 4h. This is because the Red LED current is 20mA, approaching the upper limit of current range. To prevent the constant output current from exceeding the upper limit in case a larger BC code is input accidently, we choose the maximum BC code here.
In this example, we choose 0h for BC, instead of using the default 4h. This is because the Blue LED current is 1mA, is approaching the lower limit of current range. To prevent the constant output current from exceeding the lower limit in case a lower BC code is input accidently, we choose the minimum BC code here. In general, if LED current is in the middle of the range (i.e, 10mA), one can just use the default 4h as BC code.
The LOD function detects faults caused by an open circuit in any LED string; or, a short from OUTXn to ground with low impedance. It does this by comparing the OUTXn voltage to the LOD detection threshold voltage level set by LODVLT in the FC1 register. If the OUTXn voltage is lower than the programmed voltage, the corresponding output LOD bit will be set to '1' to indicate a open LED. Otherwise, the output of that LOD bit is '0'. LOD data output by the detection circuit are valid only during the ‘on’ period of that OUTXn output channel. The LOD data are always ‘0’ for outputs that are turned off.
The power-save mode (PSM) is enabled by setting PSAVE_ENA (bit5 of FC2 register) to ‘1’. When power on, this bit default is ‘0’.
When this function is enabled, if the GS data received for next frame is all ‘0’, IC will enter power save mode at the moment Vsync command input.
When the IC is in power-save mode, it resumes normal mode when it detects non-zero GS data input. In power-save mode all analog circuits such as constant current output and the LOD circuit are not operational; the device total current consumption, Icc, is below 1mA.
The internal pre-charge FET can prevent ghosting of multiplexed LED modules. One cause of this phenomenon is the charging current for parasitic capacitance of the OUTXn through the LED when the supply voltage switches from one common line to the next common line.
To prevent this unwanted charging current, TLC5958 uses an internal FET to pull OUTXn up to VCC –1.4V during the common line switching period. Thus, no charging current flows through LED and ghosting is eliminated.
The thermal shutdown (TSD) function turns off all IC constant-current outputs when the junction temperature (TJ) exceeds 170°C (typ). It resumes normal operation when TJ falls below 160°C (typ).
The Iref resistor short protection (ISP) function prevents unwanted large currents from flowing though the constant-current output when the Iref resistor is shorted accidently. The TLC5958 turns off all output channels when the Iref pin voltage is lower than 0.19V (typ). When the Iref pin voltage goes higher than 0.325V (typ), the TLC5958 resumes normal operation.
Large surge currents may flow through the IC and the board on which the device is mounted if all 48 LED channels turned on simultaneously at the 1st GCLK rising edge. This large surge current could induce detrimental noise and electromagnetic interference (EMI) into other circuits.
The TLC5958 separates the LED channels into 12 groups. Each group turns on sequentially with some delay between one group and the next group. By this operation, a soft-start feature provides for minimal inrush current.