SFFS924A August 2024 – February 2025 SN74LV4051A-Q1 , SN74LV4052A-Q1 , SN74LV4053A-Q1
This document contains information for the SN74LV405xA-Q1 (TSSOP, SOIC, and the SOT-23-THIN packages) to aid in a functional safety system design. Information provided are:
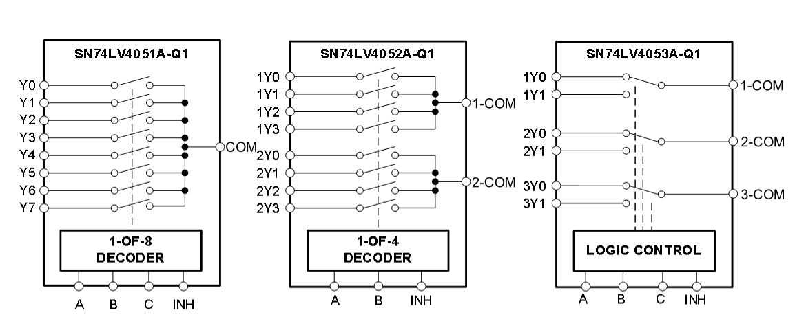
Figure 1-1 shows the device functional block diagram for reference.

The SN74LV405xA-Q1 was developed using a quality-managed development process, but was not developed in accordance with the IEC 61508 or ISO 26262 standards.